bill
Uploaded by
3 SLIDES
161 VUES
30LIKES

Efficient Data Management for Consumer Observations: Form Processing and Reporting

DESCRIPTION

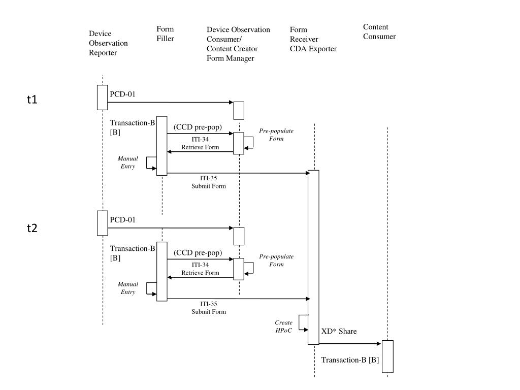
This document provides insights into a comprehensive system designed for managing consumer observation forms. It outlines the steps for filling, retrieving, and submitting forms efficiently, with a focus on streamlining the process through pre-population methods. It also details the use of CDA exporters for observation reporting, enhancing data accuracy and accessibility. This system supports transactions related to a range of consumer observations, particularly in birth reporting and follow-up processes, ensuring timely submission within specified timelines.

1 / 3

Télécharger la présentation

Efficient Data Management for Consumer Observations: Form Processing and Reporting

An Image/Link below is provided (as is) to download presentation Download Policy: Content on the Website is provided to you AS IS for your information and personal use and may not be sold / licensed / shared on other websites without getting consent from its author. Content is provided to you AS IS for your information and personal use only. Download presentation by click this link. While downloading, if for some reason you are not able to download a presentation, the publisher may have deleted the file from their server. During download, if you can't get a presentation, the file might be deleted by the publisher.

E N D

Presentation Transcript


  1. Content Consumer Form Filler Device Observation Consumer/ Content Creator Form Manager Form Receiver CDA Exporter Device Observation Reporter Birth+1 PCD-01 (CCD pre-pop) Pre-populate Form ITI-34 Retrieve Form Manual Entry ITI-35 Submit Form PCD-01 Birth+15 (CCD pre-pop) Pre-populate Form ITI-34 Retrieve Form Manual Entry ITI-35 Submit Form Create HPoC XD* Share ]

  2. Content Consumer Form Filler Device Observation Consumer/ Content Creator Form Manager Form Receiver CDA Exporter Device Observation Reporter t1 PCD-01 Transaction-B [B] (CCD pre-pop) Pre-populate Form ITI-34 Retrieve Form Manual Entry ITI-35 Submit Form PCD-01 Transaction-B [B] t2 (CCD pre-pop) Pre-populate Form ITI-34 Retrieve Form Manual Entry ITI-35 Submit Form Create HPoC XD* Share Transaction-B [B]

  3. Content Consumer Form Filler Form Manager Form Receiver CDA Exporter t1 (CCD pre-pop) Pre-populate Form ITI-34 Retrieve Form Manual Entry ITI-35 Submit Form (CCD pre-pop) t2 Pre-populate Form ITI-34 Retrieve Form Manual Entry ITI-35 Submit Form Create HPoC XD* Share

More Related