1 / 35

Biometrics & Security

Biometrics & Security. Tutorial 2. 1. (a) What is “Pattern”? According to its definition in (P3:4-7), could you list some patterns in your daily life?. 1. (b) “Pattern Recognition (PR)” is defined in P3:8. Could you give some PR samples and tell which features you use?.

Télécharger la présentation

Biometrics & Security

An Image/Link below is provided (as is) to download presentation Download Policy: Content on the Website is provided to you AS IS for your information and personal use and may not be sold / licensed / shared on other websites without getting consent from its author. Content is provided to you AS IS for your information and personal use only. Download presentation by click this link. While downloading, if for some reason you are not able to download a presentation, the publisher may have deleted the file from their server. During download, if you can't get a presentation, the file might be deleted by the publisher.

E N D

Presentation Transcript


  1. Biometrics & Security Tutorial 2

  2. 1. (a) What is “Pattern”? According to its definition in (P3:4-7), could you list some patterns in your daily life?

  3. 1. (b) “Pattern Recognition (PR)” is defined in P3:8. Could you give some PR samples and tell which features you use?

  4. A image of 100x250 pixels: the grayscale of each pixel is recorded as g(i,j) (0<g(i,j)<256)

  5. 1. (c) In P3:11-13, a PR system is given. Please understand each function in the system.

  6. 1. (d) Understand the definitions related to PR: Classification, Recognition, Description, Pattern Class and Preprocessing (P3:14-15). Why classification and recognition require the different classes, c and c+1, respectively.

  7. 1. (e) What is correlation between two vectors, x and y? (P3: 37) (Maximum when x and y point in the same direction). Please use this definition in the function ||x-mk|| (P3: 34). How about orthogonal or uncorrelated between two vectors?

  8. The error between x and mk can be computed as || x-mk || • The correlation between x and mk can be computed as x’∙mk/||x||∙||mk|| (cosine)

  9. 2. A 3-D example for pattern extraction is defined in P3: 16-18. There are four kinds of features are extracted. Please select these features according to some guidelines (P3: 27-28) to classify the given six objects. (One selection: Edge + Symmetry + Axis)

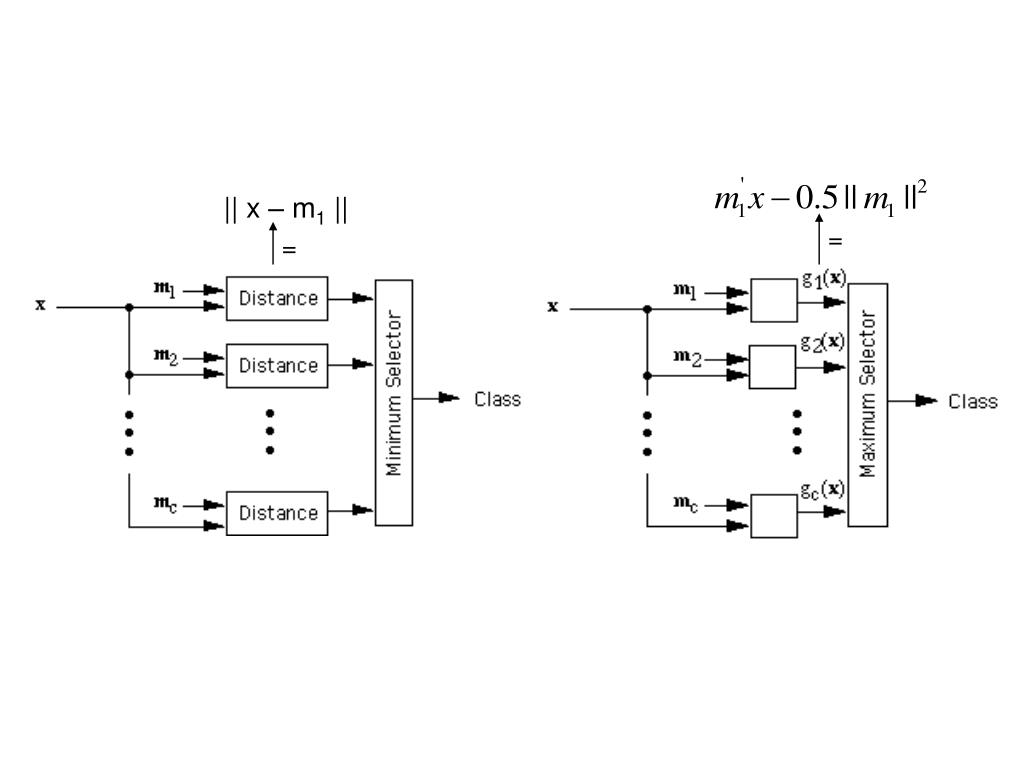
  10. 3. A minimum-error classifier based on || x - mk || is defined in P3: 34. How to get a linear discriminant function, g(x) = m' x - 0.5 || m || in P3: 39? Which difference between the following two classifiers using the approaches mentioned above.

  11. linear discriminant function • Minimum error classifier hk(x) = || x - mk || • The minimum hk(x) means the best match • Usually we would like use something whose maximum means best • X is invariant to k • The minimum of hk(x) need the maximum of • We define

  12. || x – m1 || = =

  13. In P3: 33 there are two templates (“D” and “O”) and ten input samples, each five. Please classify the third input example in the “D” row by using the maximum correlation approach and minimum error approach, respectively. (For Maximum Correlation Approach: “D”-Input: 82/90=91% and “O”-Input: 66/90=73%)

  14. (1) (2) (3) 0111010101010111 0110010110011110 1111100110011111 0111010101010111 0111010101010111 1111100110011111 0110010110011110 S12 = 11 Correlation of (1) & (2) is 11/16 Error of (1) & (2) is 5/16 S13 = 10 Correlation of (1) & (3) is 10/16 Error of (1) & (3) is 6/16

More Related